越秀區某單位大院梁柱加固工程
- 作者:
- 訪問量:
- 發布時間:2026-04-17 14:55:17
【概要描述】工程簡介: 本工程據悉建於1985年,為一棟框架結構住宅樓,現澆鋼筋砼梁、板體係,鋼筋砼柱承重,180、240mm磚牆圍護,根據鑒定有限公司出具房屋結構可靠性鑒定中得出該房子局部位置框架柱、梁混凝土強度不滿足要求以及部分柱、梁、板保護層脫落、鋼筋外露。
越秀區某單位大院梁柱加固工程
【概要描述】工程簡介: 本工程據悉建於1985年,為一棟框架結構住宅樓,現澆鋼筋砼梁、板體係,鋼筋砼柱承重,180、240mm磚牆圍護,根據鑒定有限公司出具房屋結構可靠性鑒定中得出該房子局部位置框架柱、梁混凝土強度不滿足要求以及部分柱、梁、板保護層脫落、鋼筋外露。
- 分類:民房加固改造
- 作者:
- 來源:
- 發布時間:2026-04-17 14:55:17
- 訪問量:
一、工程名稱:越秀區某單位大院梁柱加固工程
二、工程地址:廣州市越秀區東風東路801號大院
三、施工工期:30天
四、工程概況
本工程據悉建於1985年,為一棟框架結構住宅樓,現澆鋼筋砼梁、板體係,鋼筋砼柱承重,180、240mm磚牆圍護,根據鑒定有限公司出具房屋結構可靠性鑒定中得出該房子局部位置框架柱、梁混凝土強度不滿足要求以及部分柱、梁、板保護層脫落、鋼筋外露。
五、設計依據
1、《混凝土結構加固設計規範》GB50367-2013
2、《混凝土結構設計規範》GB50010-2010
3、《建築荷載規範》GB50009-2012
4、《建築結構加固工程施工質量驗收規範》(GB50550-2010)
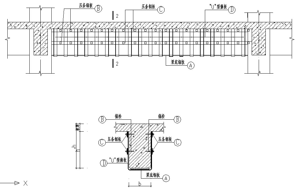
六、加固施工工藝
1、柱外包鋼加固處理


2、梁粘鋼加固處理


3、板粘貼碳纖維布加固處理


四、加固補強效果
對原結構,通過大鵬防水加固公司出具的加固設計方案以及加固施工後可以保證加固構件在原設計使用荷載作用情況下繼續安全正常使用。
掃二維碼用手機看
最新資訊
- 屋麵防水施工必須注意的10個關鍵點 2024-11-15
- 5種常見住宅結構類型抗震性怎樣? 2024-11-13
- 當房屋抗震不滿足規範要求,應該如何進行加固? 2024-10-24
- 房屋出現傾斜,還能繼續使用嗎? 2024-10-22
- 高層建築傾斜的常見原因有哪些? 2024-10-21
、
地址:廣東省廣州市天河區大觀中路95號科彙園7棟四層
郵箱:




